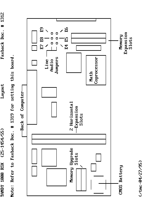
Tandy 1000 RSX
25MHz
OEM / Proprietary
300mm x 150mm
512KB
None/Integrated in the CPU
9MB(1MB soldered on-board)
30-pin SIMM
Empty
1x
Floppy interface
1x
IDE interface
1x
PS/2 keyboard
1x
PS/2 mouse
1x
Parallel
1x
Serial
2x
16-bit ISA
- Expansion slots are on proprietary riser
The listed slots are on the riser card that came with the motherboard.
If you have this board make sure you have the riser for it.
Original RadioShack pages: https://web.archive.org/web/20020520204126/http://support.radioshack.com/support_computer/1330.htm
More Tandy 1000 documentation and software: http://www.oldskool.org/guides/tvdog/
The video chip is an ACUMOS AVGA2, this is a Cirrus Logic GD-5402.
Last updated 2025-11-24T00:28:20Z
Board info score is 8.5/10
-> Chipset part
-> Floppy ctrl.
-> Real-Time Clock
-> Video
Phoenix - 1 entry
POST string
Note
Core Ver.
BIOS Ver.
Logs
Release date
File
Logs
Chip
Release date
File
Logs
Disclaimer
The info found in this page might not be entirely correct. Check out this guide to learn how you can improve it.