ASUS KGPE-D16 (Rev. 1.03G)
Logs
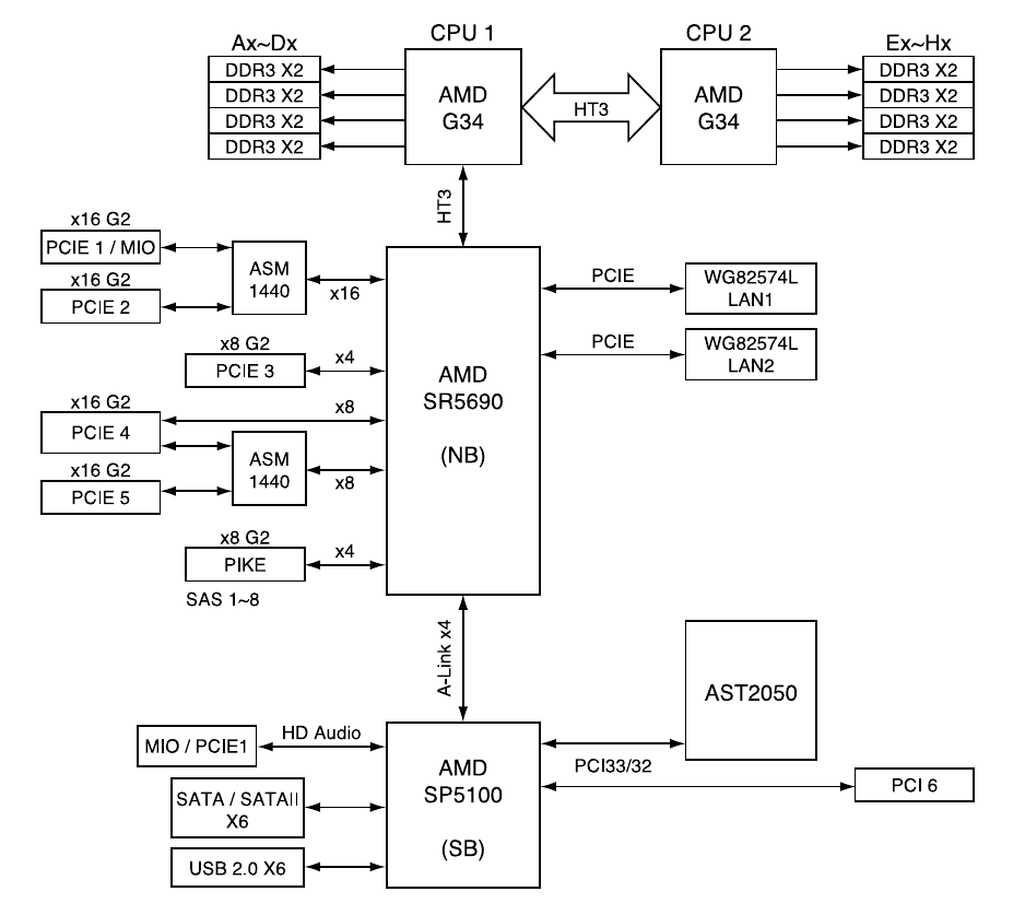
chipChipset
cpuSocket
speedFSB speeds
200MHz2600MHz3200MHz
moboForm factor
SSI EEB (max 305 × 330 mm)
dimDimensions
Empty
ramMax VRAM size
8MB
chipCache
None/Integrated in the CPU
ramMax RAM size
64GB(UDIMM)256GB(RDIMM)
ramRAM types
DDR3 UDIMMDDR3 RDIMM ECCDDR3 LRDIMM ECCDDR3 UDIMM ECC
pwrPSU connector
maxcpuMulti CPU support
2 CPUs
connI/O ports
1x 
FireWire 400
1x 
PS/2 keyboard
1x 
PS/2 mouse
3x 
RJ-45 LAN
6x 
SATA II
2x 
Serial
9x 
USB 2.0
1x 
VGA
cardExpansion slots
1x 
32-bit PCI
1x 
Asus PIKE
2x 
PCIe x16
2x 
PCIe x16 @ x8
1x 
PCIe x8 @ x4
Last updated 2025-07-22T10:36:12Z
Board info score is 9.1/10
bios 2 BIOS files available

vendor AMI - 2 entries

POST string
Note
Core Ver.
BIOS Ver.
Logs
POST string
65-3309-000001-00101111-061616-MAGNYCRS-S0100000
Note
Core version
080015
BIOS version
Logs
POST string
65-3201-000001-00101111-021913-MAGNYCRS-S0100000
Note
Core version
080015
BIOS version
Logs
drv No drivers available
doc 2 board documents available
Release date
File
Logs
Release date
File
Logs
Release date
2013-11
File
Logs

Disclaimer

The info found in this page might not be entirely correct. Check out this guide to learn how you can improve it.