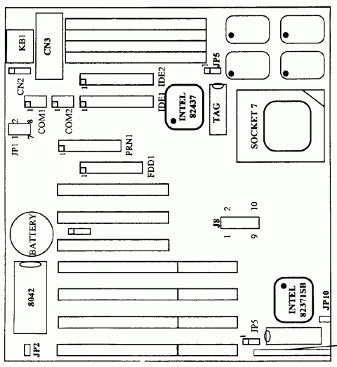
Lucky Star LS-P54CE Rev: G3
50MHz60MHz66MHz
Baby AT (max 220 x 330 mm)
Empty
256KB512KB
128MB
72-pin FPM72-pin EDO
1x
AT Keyboard
1x
Floppy interface
2x
IDE interface
1x
Parallel
2x
Serial
4x
16-bit ISA
3x
32-bit PCI
Last updated 2025-02-08T21:22:37Z
Board info score is 9.2/10
-> Chipset part
Award - 2 entries
POST string
Note
Core Ver.
BIOS Ver.
Logs
POST string
10/28/96-i430VX,UMC8669-2A59GL1CC-00
Note
Core version
4.51PG
BIOS version
REV.F release 11/14/1996 VER F09
Logs
POST string
12/23/1998-i430VX,UMC866-2A59GL1CC-00
Note
EVALUATION ROM, compatibility unknown
Core version
4.51PG
BIOS version
Logs
Name
Version
OS support
Arch
Size
Filename
Name
Version
3.00
OS support
Arch
x86
Size
1.2MB
Filename
Name
Version
3.7B / 3.7D
OS support
Arch
x86
Size
1.6MB
Filename
Version
OS support
Arch
Size
Filename
Release date
File
Logs
Chip
Release date
File
Logs
Chip
Release date
File
Logs
Chip
Release date
File
Logs
Disclaimer
The info found in this page might not be entirely correct. Check out this guide to learn how you can improve it.