HP NetServer LXr 8500
Logs
chipChipset
cpuSocket
speedFSB speed
100MHz
moboForm factor
OEM / Proprietary
dimDimensions
Empty
ramMax VRAM size
1MB
chipCache
None/Integrated in the CPU
ramMax RAM size
32GB
ramRAM type
168-pin EDO UDIMM
pwrPSU connector
Empty
maxcpuMulti CPU support
8 CPUs
connI/O ports
1x 
Floppy interface
1x 
IDE interface
2x 
Internal SCSI
1x 
PS/2 keyboard
1x 
PS/2 mouse
1x 
Parallel
2x 
Serial
1x 
VGA
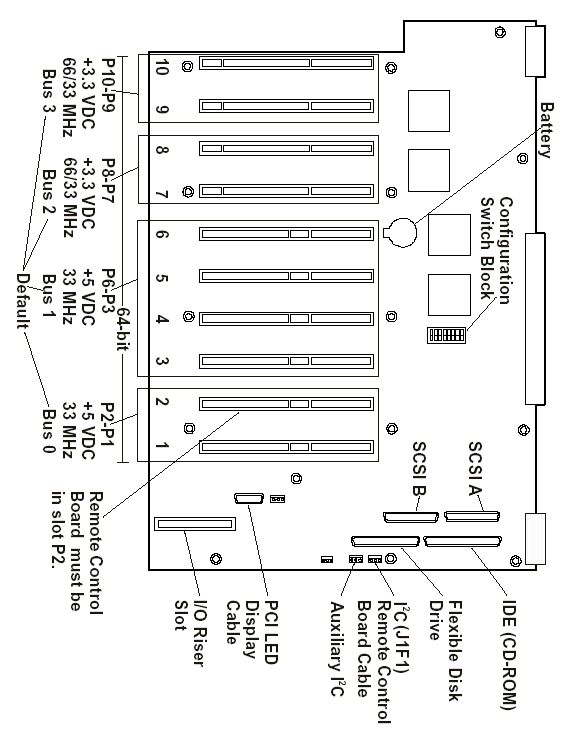
cardExpansion slots
10x 
64-bit PCI
Last updated 2021-08-14T19:42:29Z
Board info score is 6.4/10
bios 0 BIOS files available
drv 8 drivers available
Name
Version
OS support
Arch
Size
Filename
Name
Version
1.13x
OS support
Windows 9x
Arch
x86
Size
78.1KB
Filename
Name
Version
1.41
OS support
Windows 9x
Arch
x86
Size
361.8KB
Filename
Name
Version
1.31a
OS support
Windows NT 3.5x
Arch
x86
Size
65KB
Filename
Name
Version
1.41
OS support
Windows NT 4.0
Arch
x86
Size
194.6KB
Filename
doc 1 board document available
Release date
File
Logs
Release date
File
Logs

Disclaimer

The info found in this page might not be entirely correct. Check out this guide to learn how you can improve it.