DEC ApplicationDEC 433MP
Logs
chipChipset
Empty
cpuSocket
Empty
speedFSB speed
Empty
moboForm factor
OEM / Proprietary
dimDimensions
Empty
chipCache
256KB
ramMax RAM size
64MB
ramRAM type
Empty
pwrPSU connector
Empty
maxcpuMulti CPU support
4 CPUs
connI/O ports
1x 
Floppy interface
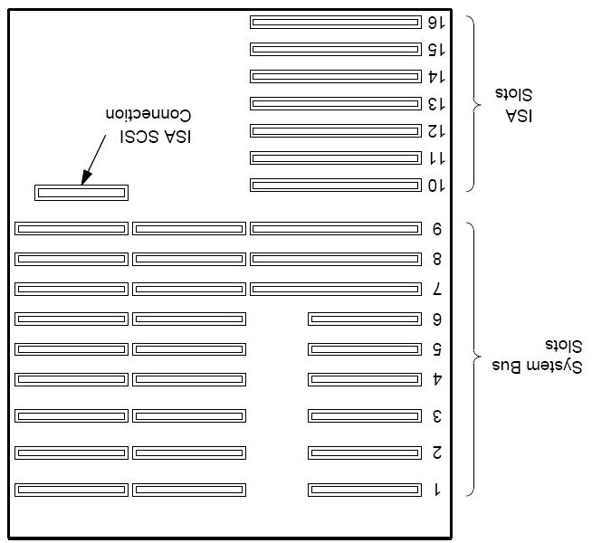
cardExpansion slots
7x 
32-bit EISA
notes Notes

Manual states "ISA bus, EISA ready" The backplane is EISA, though will only operate in ISA mode unless the system is upgraded with "EISA compliant base processor and bridge modules".

256KB cache is per processor.

Last updated 2021-06-07T22:13:24Z
Board info score is 4/10
chip Chips
cpufam CPU family support
bios 0 BIOS files available
drv No drivers available
doc 5 board documents available

Disclaimer

The info found in this page might not be entirely correct. Check out this guide to learn how you can improve it.