ADLink ReadyBoard 850
Logs
chipChipset
cpuSocket
speedFSB speeds
800MHz1066MHz
moboForm factor
EPIC (max 115 x 165 mm)
dimDimensions
115mm x 165mm
chipCache
None/Integrated in the CPU
ramMax RAM size
4GB
ramRAM type
204-pin DDR3 SO-DIMM
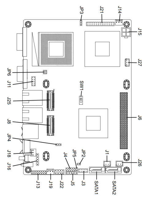
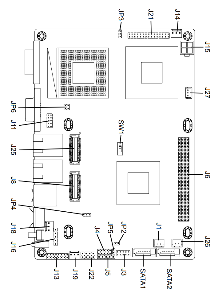
pwrPSU connector
tag Also known as
connI/O ports
1x 
CF Card Slot
1x 
GPIO
1x 
LVDS
1x 
PS/2 KB+MS Combo
2x 
RJ-45 LAN
2x 
SATA II
2x 
Serial
4x 
USB 2.0
1x 
VGA
cardExpansion slots
Empty
notes Notes

Supports Intel Core 2 Duo P8400, Intel Core 2 Duo T7500, Intel Celeron T3100

Has PCI-104 connector

Last updated 2025-05-29T15:04:48Z
Board info score is 8.6/10
bios 1 BIOS file available

vendor AMI - 1 entry

POST string
Note
Core Ver.
BIOS Ver.
Logs
POST string
64-0100-000001-00101111-040810-Cantiga-RB850A10
Note
Core version
080016
BIOS version
Logs
drv 3 drivers available
Name
Version
OS support
Arch
Size
Filename
Name
Version
14.42.15
OS support
Windows XP/2k3
Arch
x86
Size
9.3MB
Filename
Name
Version
9.2.0.1030
OS support
Windows 2000 Windows XP/2k3
Arch
Size
Empty
Filename
Name
Version
R2.74
OS support
Windows 2000 Windows 7 Windows Vista Windows XP/2k3
Arch
Size
30.7MB
Filename
doc 2 board documents available
Release date
File
Logs
Release date
File
Logs
Release date
File
Logs

Disclaimer

The info found in this page might not be entirely correct. Check out this guide to learn how you can improve it.