MCST Elbrus-8C 1.0Ghz (8C0)
dateType
Processor
486Family
cpuPackage
threadsMemory ctrl.
DDR3 ECC
powerTDP
60W
Not linked to any boards or cards.
tag Also known as
  • MCST 1891ВМ10БЯ (1891VM10BY) 1.0Ghz
  • MCST Elbrus-8C 1891ВМ10Я Series
  • MCST ТВГИ.431281.016
  • MCST Эльбрус-8С 1.0Ghz (8C0)
Microarchitecture
Frequency 1.0Ghz
Core count 8
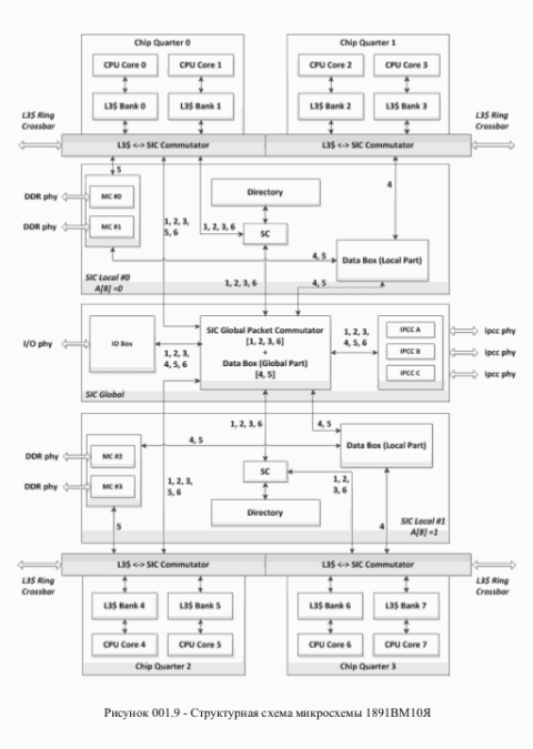
Architecture Elbrus v.4
doc No chip documents available
notes Notes
  • 1891ВМ10АЯ (1891VM10AY) — with a clock frequency of up to 1300 MHz
  • 1891ВМ10БЯ (1891VM10BY) — with a clock frequency of up to 1000 MHz

MCST Elbrus-8C Specifications

drv No drivers available
Last updated 2025-11-22T10:12:54Z

Disclaimer

The info found in this page might not be entirely correct. Check out this guide to learn how you can improve it.