MCST Elbrus-8C 1.3Ghz (8C0)
dateType
Processor
486Family
cpuPackage
threadsMemory ctrl.
DDR3 ECC
powerTDP
80W
Not linked to any boards or cards.
tag Also known as
  • MCST 1891ВМ10АЯ (1891VM10AY) 1.3Ghz
  • MCST Elbrus-8C 1891ВМ10Я Series
  • MCST ТВГИ.431281.016
  • MCST Эльбрус-8С 1.3Ghz (8C0)
Microarchitecture
Frequency 1.3Ghz
Core count 8
Architecture Elbrus v.4
doc No chip documents available
notes Notes
  • 1891ВМ10АЯ (1891VM10AY) — with a clock frequency of up to 1300 MHz
  • 1891ВМ10БЯ (1891VM10BY) — with a clock frequency of up to 1000 MHz

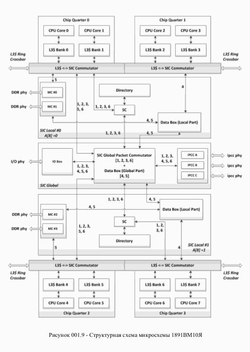
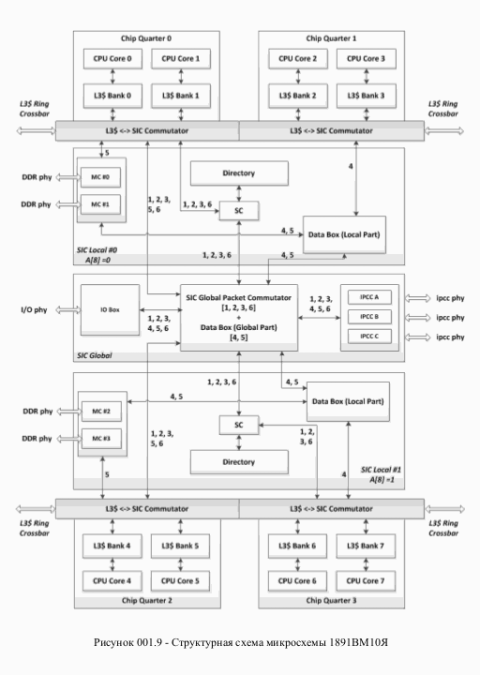
MCST Elbrus-8C Specifications

drv No drivers available
Last updated 2025-11-22T10:12:49Z

Disclaimer

The info found in this page might not be entirely correct. Check out this guide to learn how you can improve it.